
【型號推薦:TH-WQX5B,氣象環境監測儀器設備生產廠家,云境天合支持商家定制服務,設備選擇山東云境天合您放心】一體化負氧離子傳感器是專門用于測量空氣中負氧離子濃度的監測設備。傳感器采用先進的采集和測量技術,能夠準確反映空氣負離子的含量水平。設備將傳感器、處理器和通信模塊集成于一體,具有體積小、功耗低的特點。監測數據可實時顯示并遠程傳輸,便于用戶及時了解空氣環境質量。一體化設計使安裝和維護更加簡便,適合用于森林公園、旅游景點、住宅區等場所的環境監測。通過長期監測負氧離子濃度變化,可以評估環境的健康效益,為生態旅游和康養產業發展提供數據支持。該傳感器的應用,有助于人們選擇更健康的生活環境,提升生活品質。

一、產品簡介
我司作為專業研發生產銷售微型氣象儀的企業,一直致力于微型氣象儀和氣象環境解決方案推廣應用。具有完整的生產鏈、實力雄厚的技術團隊和全面的營銷團隊,我們研發生產的五要素微氣象儀、六要素微氣象儀和小型自動氣象站等氣象產品,已廣泛應用到氣象監測、城市環境監測、風力發電、航海船舶、航空機場、橋梁隧道等領域,客戶遍布全國各地,并取得了良好的社會效益和經濟效益。
WQX5B型五要素微氣象儀創新性地將負氧離子、空氣溫度、濕度、PM2.5、PM10等氣象要素通過一個高集成度結構來實現,可實現戶外氣象參數24小時連續在線監測,通過數字量通訊接口將五項參數一次性輸出給用戶。
二、產品特點
1、抗干擾能力強,具有看門狗電路,自動復位功能,保證系統穩定運行
2、高集成度,無移動部件,零磨損
3、免維護,無需現場校準
4、采用ASA工程塑料室外應用常年不變色
5、產品設計輸出信號標配為RS485通訊接口(MODBUS協議);可選配232、USB、以太網接口,支持數據實時讀取☆
6、可選配無線傳輸模塊,最小傳輸間隔1分鐘
7、探頭為卡扣式設計,解決了運輸、安裝過程松動不準的問題☆
三、技術參數
1、空氣溫度:測量原理二極管結電壓法,-40-80℃(±0.3℃)分辨率0.01℃;
2、空氣濕度:測量原理電容式,0-100%RH(±3%RH)分辨率0.01%RH;
3、PM2.5:測量原理光散射,0-1000ug/m3(±10%)分辨率1ug/m3
4、PM10:測量原理光散射,0-1000ug/m3(±10%)分辨率1ug/m3
5、負氧離子:測量原理圓筒式電極吸入式,0-10萬個/cm3(±10%)分辨率1個/cm3
6、功率:2.3W
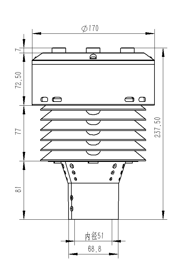
四、產品尺寸圖
五、產品結構圖
六、產品接線定義
| 定義 | 備注 | |
| VCC | 電源正 | DC12V |
| GND | 電源地 | |
| 485A | RS485A | |
| 485B | RS485B |
公司地址:山東省濰坊高新區光電路155號濰坊高新區光電產業加速器(一期)1號樓206
公司郵箱:lixinghua@yunjingtianhe.com
公司傳真:銷售熱線
在線咨詢

掃碼加微信

移動端瀏覽